Rotator module version 3.2
This revision is from 2014/09/08 12:07. You can Restore it.
- Power
- Connect DC Rotator (DB15 female) and power inputs
- Connect AC Rotator (DB15 female) and power inputs
Components of Multi rotator controller server
Planting plan(Edit)

Part list(Edit)
| Main and LCD PCB | two PCB |
| C1,C2,C3,C4,C5, C6 | capacitor 4n7 |
| D1,D2,D3,D4 | diode 1n4148 |
| L1,L2 | inductor 100uH |
| R1,R2,R3,R5 | resistor 1k |
| R9 | resistor 4k7 |
| R4,R6,R7,R8 | resistor 510R |
| RV1 | potenciometer 1k |
| Q1,Q2,Q3 | transistor BC547 |
| S1,S2,S3 | LED switch |
| RL1,RL2,RL3 | Relay |
| U1 | LCD 16X2 |
| U3 | preset encoder with knob |
| J1 | DB15-F + DB15-M |
| CON1 | pin array 5x2 |
| P2+P1, P3+P4 | strip 9+13 pins 90° |
| P5 | pin array_3x2 |
| P6, JP1 | pins + jumper |
| U2 | Arduino nano 3.0 + socket |
Assembly gallery(Edit)

✔ All components

❏ Solder R4 R6 R7 R8 (marked in blue)

❏ 13 and 9 pins 90° strip

❏ 16 pins strip to LCD

❏ Insulating spacer washers between LCD and PCB

❏ LCD module to PCB

❏ CW, CCW and START switch (marked in blue) and preset encoder, Now front panel is final

❏ Next R1 R2 R3 R5 (marked in black) and R9 solder on main board

❏ D1 D2 D3 D4 (marked in red)

❏ L1 L2 (marked in green)

❏ Q1 Q2 Q3

❏ C1 C2 C3 C4 C5 and C6

❏ 6 pins of brake sw, Inputs connector, R9, DIL cocketfor Arduino NANO

❏ F15 connector, three relay, Arduino nano

❏ last solder front panel via pin strip
❏ after power up, preset LCD contrast with potentiometer RV1
Firmware(Edit)
For beginners Getting Started with Arduino
You can configure firmware from master tree Arduino firmware by K3NG
Or download preconfigured version
Please read author documentation
Power(Edit)
The entire module can be powered from USB only, but there is a voltage drop, it is better to use an external +5V source, or a DC/DC converter and cut the power to the attached USB cable.
Pin 3 in CON1 (+5 volts input to supply measure the azimuth)- input stabilized voltage from power board This pin may be short connected (as picture below) with pin4 CON1 (+5 volts to interface), then the voltage measurement uses a common 5V voltage from the power supply module.
Connect DC Rotator (DB15 female) and power inputs(Edit)

- Need three jumper
- short DC position P6 jumper switch
- short JP1 jumper
- short PHASE-SW (center) position CON1
- connect example
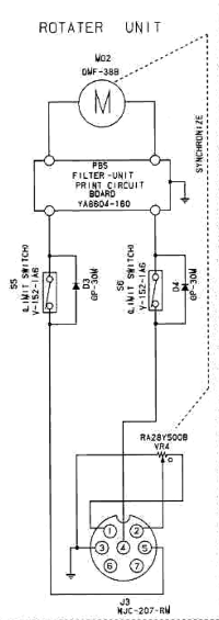
- Yaesu G800 [http://remoteqth.com/img/wiki-yaesu-g800]
Connect AC Rotator (DB15 female) and power inputs(Edit)
Diagram for the common AC and +5V ground(Edit)

- Need one jumper
- short AC position P6 jumper switch
- Inspiration
Diagram for the different AC and +5V ground(Edit)
